Introduction
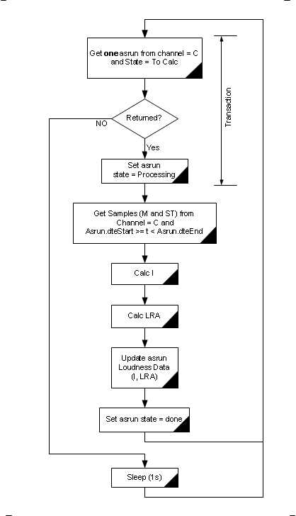
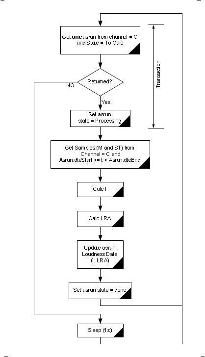
This module check continuously the database to find out a broadcasted item with no associated loudness information, if they found it, then it calculates the I, TPmax, and LRA value. Finally send these parameters to DB. If we want to speed up the system we can run multiple instances of JOCLoudnessCALC in the same computer or in different computers.
To implement the DB continuous check, the module uses the following algorithm:

Screenshot
Operation
The module needs the following data to start working:
- Database location (URL and port), and database login and password
- Once the module has connected to database the user has to:
- Select the channel. This channel indicates to JOCLoudnessCALC module what broadcasted items has to analyse, if the user select “ALL” the module will analyse all broadcasted items without taking into account the channel that belongs.
