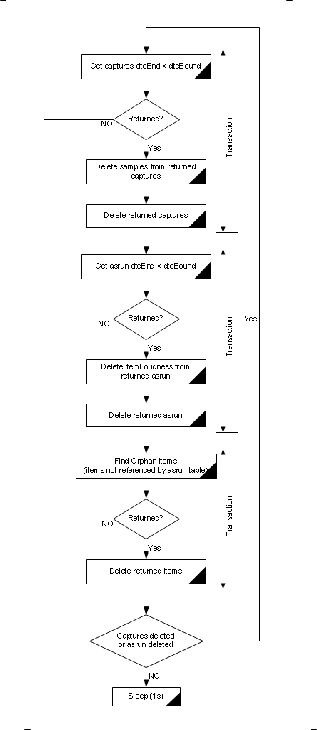
Introduction
This module prevents the system degradation. It automatizes the oldest data deletion. This module automatize the deletion of the following data:
- Captures and its related samples.
- Asrun items and its related loudness data.
- Orphan items (orphan items are the items that aren’t related with any asrun entry).
This module to do the cleaning job follows this algorithm:

Screenshot
